/ ファストン端子

ファストン端子

拘り過ぎなのかも知れないが今回新しいスピーカーユニット導入にあたり真面目に調べた^^;
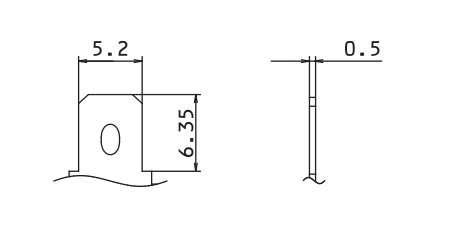
FE168SS-HPの入力端子の形状はこの画像の様になっている。

FE168SS-HP-tannsi


一方規格に存在するファストン端子(タブ端子)の形状の種類は...

2


したがってFE168SS-HPの入力端子は205シリーズだと思われる。
なので規格ではこの端子には1.25sqまでの線材が使える。
が!しかし借り物の箱に付いているリードは恐らく2.5sq程度の太い太いリードである。
太ければ良いというモノでは無いしかもケーブル交換は出来ない直付けターミナル...困ったなぁ
ついでに書くと205というサイズはJIS規格には無いサイズで田舎のDIYホームセンターでは
絶対に購入出来ないモノなのである。(辛い...)

— posted by くま at 11:32 am  

この記事に対するコメントはありません

<< 2021.11 >>
SMTWTFS
 123 456
78910111213
141516 17181920
21 2223 24252627
282930    
 
























T: Y: ALL: Online:
ThemePanel
Created in 0.0611 sec.